How to calculate the force of the gas spring

How To Calculate The Force Of The Gas Spring?

Below is a simple guide on how to calculate the force of gas spring when we configure a new gas spring in specific application. In addition, we will also introduce the meaning of different forces during compression and extension, so that we can better understand which force is needed.

Content

What is F0, F1, F2, F3, F4, Fr ?

gas spring force type
  • F0 (Start-up force): When the gas spring remains in an extended status for a while, the initial force that presses the piston rod.
  • F1 (Minimum extension force, this force is what we want to calculate.): During the extension process, the force measured at the measuring point “C” from the starting point of the stroke.
  • F2 (Maximum extension force): During the extension process, the force measured at the measuring point “C” from the end of the stroke.
  • F3 (Minimum compress force): During the compression process, the force measured at the measuring point “C” from the starting point of the stroke.
  • F4 (Maximum compress force): During the compression process, the force measured at the measuring point “C” from the end of the stroke.
  • Fr (Dynamic friction force): Fr=(F3-F1)/2
    *When stroke S≤80 mm, measuring point “C” is 5mm; When stroke S>80 mm, measuring point “C” is 10 mm.

Calculate minimum extension force (F1)

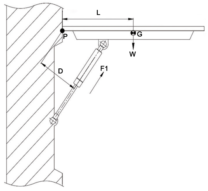
Firstly, we need to know four critical values (“L, D, W, Q”) to calculate the F1(N).

  1. “L” means the distance between gravity “G” of the moving objective and pivot point “P.”(mm)
  2. “D” means the distance between pivot point “P” and the gas spring.(mm)
  3. “W” means the moving objective’s total weight (kg).
  4. “Q” means the number of the gas spring required.

 

gas spring force calculation1

Example:

If the total weight of the moving objective is 50kg, L is 400mm, D is 300mm, will fix 1pc gas spring. So the F1 will be 733N.

How we test the gas spring force?

In general, we will use the force characteristic testing machine to test the force value of the gas spring. Put the gas spring in the fixture of the testing machine, and then press the start button. The machine will automatically test and filter. Under the dynamic test or static test, record the F1, F2, F3, F4 and observe whether abnormal phenomenon happen.

Force characteristic testing

Through the data recorded during the test, the machine will automatically generate a force characteristic curve report. As can be seen from the below graphic, the spring characteristic represents the force progression of the gas spring over the stroke, from the extended to the inserted state and back. It helps us understand the force we want to know at a certain stroke position.

force characteristic curve report

For more gas spring knowledge, please click our knowledge guide.

Wonderful! Share this Post:
Share on facebook
Share on twitter
Share on linkedin

Related Articles

linsheng zhao portrait
Linsheng Zhao

Gas Spring Specialist

Hey, I’m the author of this post, In the past 20 years, we have helped 55+ countries and 100+ Clients from industries like automotive, medical, furniture, marine, machinery, etc.

If you have any inquiries about gas springs, contact us for a free quote, or discuss your solutions.

pop img002

Get In Touch with Us

    *We respect your confidentiality and all information is protected.